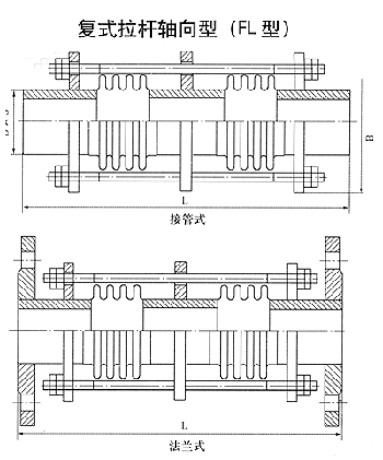
复式拉杆轴向型(FL型)

浏览:863【打印】 【关闭】 【返回】

   

 相关产品
通用型(TY型)
通用型(TY型)
复式拉杆轴向型(FZ型)
复式拉杆轴向型(FZ型)
套筒式轴向型(TZ型)
套筒式轴向型(TZ型)
外压单式轴向型(WZ型)
外压单式轴向型(WZ型)
小拉杆轴横向型(XL型)
小拉杆轴横向型(XL型)
方型通用型(FT型)
方型通用型(FT型)
大拉杆横向型(DL型)
大拉杆横向型(DL型)
铰链横向型(JH型)
铰链横向型(JH型)
万向铰横向型(WX型)
万向铰横向型(WX型)
角向型(JX型)
角向型(JX型)
万向角型(WX型)
万向角型(WX型)
旁通直管压力平衡型(ZPP型)
旁通直管压力平衡型(ZPP型)